|
|
产品分类 |
- · ①土工,无机结合料仪器类
- · ②沥青及沥青混合料仪器类
- · ③水泥,混凝土,砂浆仪器类
- · ④集料,岩石试验仪器类
- · ⑤压力,拉力,万能试验机类
- · ⑥电子天平称量类
- · ⑦试验箱体类
- · ⑧路基路面现场测试仪器类
- · ⑨基桩,结构,无损检测类
- · ⑩试模筛具附件类
- · ⑪化玻仪器试剂类
- · ⑫交通安全设施仪器类
- · ⑬塑胶跑道抗滑值仪器
- · ⑭道路养护设备类
- · ▶土壤仪器类
- · ▶土工布仪器类
- · ▶管材检测仪器类
- · ▶防水卷材仪器类
- · ▶建筑门窗及墙体仪器类
- · ▶玻璃幕墙及玻璃仪器类
- · ▶建筑安全检测仪器
- · ▶建筑材料燃烧节能仪器类
- · ▶电器电缆仪器类
- · +高精度摆式摩擦系数测定仪,摆式仪标定架,摆式摩擦系数试块组
- · +路面渗水系数测量标准装置
- · +仪器检定设备及器具
|
加速磨光试验机,摆式仪,沥青针入度仪
全自动沥青抽提仪,沥青延伸度仪
沥青轮碾成型机,沥青车辙试验仪
沥青燃烧炉,磨光试件测试平台
表面振动压实试验,摆式仪配件
加速磨光试验机配件,沥青延伸度仪说明书
全自动沥青抽提仪技术参数,摆式仪橡胶片
|
|
| 当前位置:首页 > 新闻中心 > T0632-2025稀释沥青蒸馏试验 |
|
|
| 关键字: T0632-2025稀释沥青蒸馏试验 日期: 2025-11-27 19:17:40 点击 32568 次 |

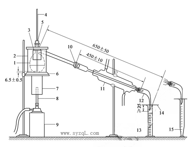
T0632-2025稀释沥青蒸馏试验 1 目的与适用范围 1.1 本方法适用于高温蒸馏法测定稀释沥青材料的馏分含量,也适用于高温蒸馏法回收残留物用于后续试验。 1.2 根据试验需要,可选择不同标准温度,但应包括225℃、316℃、360℃。 2 仪具与材料 2.1 蒸馏装置:结构及尺寸如图T0632-1所示。图T0632-1蒸馏装置(尺寸单位:mm) 1-蒸馏烧瓶;2-保温罩;3-云母窗;4-温度计;5软木塞;6-两张金属丝网;7-通气道;8-加热装置;9-高度可调支座;10-软 木接头;11-冷凝管,长度为200~300mm;12-导接管(牛角管);13-接收器(标准量筒):14-吸水纸;15-接收器(下异径 量筒) 2.1.1 蒸馏烧瓶:侧臂式500旅馏烧瓶,结构及兴寸如图T0632-2所示。 2.1.2 冷凝管:水冷式冷凝管,总长度为450mm±10mm,标准玻璃夹套标称长度为200~300mm。 2.1.3 保温罩:结构及尺寸如图T0632-3所示,由钢制成,内衬厚3mm的防火绝缘材料,并配有两个透明的云母窗,用于保护烧瓶免受气流影响并减少辐射。顶盖应分成两部分,采用厚度不小于6mm防火绝缘材料。 图T0632-3保温罩(尺寸单位:mm) 注:法兰开口圆柱体由22号镀锌铁制成,内衬厚3mm的防火绝缘材料,3mm防火内衬铆接在金属上;两个云母窗口,与端槽成直角。 2.1.4 导接管:牛角管,1mm厚玻璃制,弯角约105°,大端内径18mm±2mm,小端内径不小于5mm。下表面应处于大端到小端的平滑下降曲线上;出口端内线应垂直;出口应切割或研磨(非火抛光)成45°±5°角。导接管通过软木塞或磨口与冷凝管连接 。 2.1.5 保温罩和蒸馏烧瓶的支撑:两张150mm×150mm的1.18mm网孔的高铬镍铁丝网放在三脚架或环上。 2.1.6 加热装置:加热升温速率可调,可采用如下三种类型: (1) 燃气灯。 (2) 电热板,0~750W功率可调。此时不需要图T0632-1中6金属丝网和7通气道,而是在电热板上放一个隔热套。隔热套采用耐火材料,79mm的开口,上表面斜面为86mm,当蒸馏烧瓶放置在其上时,蒸馏烧瓶底部和电加热器之间应有大约3mm的距离 。 (3) 电热套,0~750W功率可调。此时不需要图T0632-1中2保温罩、6金属丝网和7通气道,而是将蒸馏烧瓶直接放入电热套中,其中蒸馏烧瓶中最少200mL容积在电热套内;同时应配一个可移动的保温套来覆盖蒸馏烧瓶从电热套中伸出部分 。 2.1.7 接收器:标准量筒,容积为25mL、50mL或100mL,精度±0.25mL、0.25mL、0.50mL;或采用图T0632-4所示的下异径量筒,下异径量筒容积为25mL、50mL或100mL,精度±0.25mL、0.25mL、0.50mL。根据蒸馏体积选取量筒。图T0632-4下异径量筒(尺寸单位:mm) 2.1.8 温度计:水银温度计,或铂电阻温度计,量程0~360℃,分度值1℃。 2.2 盛样器:收集残留物,带盖、密封金属容器,容积250mL, 直径75mm±5mm,高55mm±5mm。 2.3 天平:感量0.1g₆ 2.4 气压计:精度±0.1kPa。 3 方法与步骤 3.1 根据试验需要,可选择多个不同标准温度,但应包括225℃、316℃、360℃。试验时实测现场大气压,按式(T0632-1)计算修正温度,精确至1。 Tp=(p-101.3)×kT₀+T₀ 式中:T,——进行气压修正后的温度,℃; p——试验时大气压,kPa; 101.3——一个标准大气压,kPa; T₀——标准温度,℃; k₇—— 温度修正系数,见表T0632-1,℃/kPa。表T0632-1温度修正系数标准温度(℃)温度修正系数(℃/kPa)标准温度(℃)温度修正系数(℃/kPa) 1600.3862750.488 1750.3983000.510 1900.4123150.523 2250.4433250.532 2500.4653600.563 2600.474 3.2 准备工作 3.2.1 按稀释沥青样品15℃的密度计算200mL试样的质量m₁。按本规程T0602准备稀释沥青试样2份。 3.2.2 将蒸馏烧瓶、冷凝管、导接管及接收器等洗净、烘干。 3.2.3 称取蒸馏烧瓶质量,或放在天平上清零;将试样加热搅拌均匀后,采用增量法称m₁±0.5g试样注入蒸馏烧瓶内。 3.2.4 按图T0632-1所示安装好蒸馏装置。 (1) 安装好加热装置,蒸馏烧瓶,调整支座高度使加热装置、蒸馏烧瓶处于合适高度。 (2) 采用软木塞或磨口玻璃将蒸馏烧瓶侧臂、冷凝管、导接管连接,保持蒸馏烧瓶瓶颈垂直,保持蒸馏烧瓶侧臂、冷凝管、导接管轴线同轴,调整导接管,使蒸馏瓶颈部到导接管出口的距离为650mm±50mm。 (3) 将温度计通过软木塞插入蒸馏烧瓶底部,然后向上提升6.5mm±0.5mm。温度计装妥后,再将蒸馏烧瓶垂直置于保温罩内,并将保温罩的上盖盖妥(电热套加热不需要保温罩)。 (4) 放置接收器,使导接管小端应伸入接收器中不少于25mm,但不得低于接收器最高刻度线。为避免蒸馏出的馏分损失,接收器上可盖一厚吸湿纸,将其裁切成紧贴导接管的形状,并在中间穿一洞以备导接管下端通过。 (5) 将冷凝管的外套筒接通水源,使冷水由冷凝管的下端进入,由上端流出。必要时使用温水,以防止在冷凝管内形成冷凝水。 3.3 试验步骤 3.3.1 将蒸馏烧瓶均匀加热,使第一滴蒸馏液滴出时间为5~15min。以后应调节加热温度使蒸馏速度满足如下要求: (1) ≤260℃,为50~70滴/min; (2) 260~316℃,为20~70滴/min; (3) 316~360℃,整个蒸馏时间不超过10min。 注:一些样品蒸馏温度≤316℃时,蒸馏出的馏分数量很少。当达不到以上蒸馏速度时,可保持蒸馏温度上升速度≥5℃/min。在试样中加入一些浮石可以改善蒸馏试验稳定性。 3.3.2 每当达到标准温度相应的修正温度时,立即读记接收器内蒸馏出馏分的体积V, 精确至0.5mL。如蒸馏出的馏分超出接收器最大刻度线,应立即调换另一接收器。 3.3.3 当蒸馏温度达到360℃标准温度相应的修正温度时,停止加热,移走蒸馏烧瓶,取走温度计,立即将蒸馏烧瓶中残留物倾倒入盛样器中,备作其他试验使用。从停止蒸馏至开始倾倒残留物的时间应不超过30s。注意倾倒时保持蒸馏烧瓶侧臂水平,防止侧臂中冷凝物回流入蒸馏烧瓶中。 注:在冷却过程中,残留物表面结皮而捕获蒸汽,当搅拌时试样中会混有水分。如果在冷却过程中开始结皮,应采用刮刀等将其轻轻推到一边,不要倾倒入盛样器中。 3.3.4 当盛样器中残留物不再冒烟,或低于180℃时,搅拌均匀,当冷却温度达到本规程T0602中3.2.3要求时,立即借助预热的金属勺进行逐个试模灌样。为避免混进气泡,不得反复搅动试样。按相关试验方法进行残留物的针入度等相应试验,全部试验应在试样准备后72h内完成 。 3.3.5 若残留物不能及时进行下一步试验,待盛样器中残留物冷却至不再冒烟或 低于180℃,将盛样器残留物搅拌均匀后带盖自然冷却备用。再次利用时,将灌样容器带盖置于加热装置或干燥烘箱中加热至充分流动,加热温度应满足本规程T0602中 3.2.3 要求,缓慢搅拌后立即借助预热的金属勺进行逐个试模灌样。此时,应在报告中予以说明。 3.3.6 将冷凝管适当冷却后,将管中任何部位的馏出物移入接收器中,记录总的蒸馏物体积V₁。 3.3.7 同一样品应至少平行试验两次。 4 数据处理 4.1 按式(T0632-2)计算蒸馏后残留物含量,精确至0.1。(T0632-2) 式中:PR——蒸馏残留物含量,%; V,——总的蒸馏物体积,mL。 4.2 按式(T0632-3)计算各蒸馏温度的馏分含量,精确至0.1。(T0632-3)式中:P——各蒸馏温度的馏分含量(体积),%; V——不同蒸馏温度的蒸馏馏分体积,mL; 200——试样15℃时体积,mL。 4.3 取两个试样测定值的算术平均值作为试验结果,均精确至0.1%。 5 允许误差 5.1 稀释沥青蒸馏重复性试验的允许误差为1.0%; 5.2 稀释沥青蒸馏再现性试验的允许误差,对于175℃以下馏分含量为3.5%,对于 175℃以上馏分含量为2.0%,蒸馏残留物含量为2%。 6 报告 6.1 试验项目名称和执行标准。 6.2 样品的编号、名称、产地和规格。 6.3 接样日期、样品描述。 6.4 试验日期,仪器设备的名称、型号及编号。 6.5 蒸馏温度及试验结果。 6.6 其他需要说明的情况。 产品相关关键字:T0632-2025稀释沥青蒸馏试验如果您对T0632-2025稀释沥青蒸馏试验感兴趣,想了解更详细的产品信息,请与销售部联系:13905696738
|
|
|
|